TOP

SN32F7741

產品描述

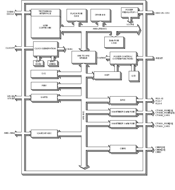
SN32F770 series 32-bit micro-controller is a new series of extremely Low Power Consumption and High Performance MCU powered by ARM Cortex-M0 processor with Flash ROM architecture. SN32F770 series MCU is high performance and wide operating range (1.8V~5.5V, 48 MHz maximum frequency). The device is designed with the excellent IC structure including the program memory up to 32KB Flash ROM, data memory of 4KB RAM, Nested Vectored Interrupt Controller (NVIC), two 16-bit timers, one UART interface, 5+1-channel 12-bit SAR ADC, one comparator, and flexible operating modes. There are several system clock sources, including internal 48MHz RC oscillator, and internal 16KHz RC oscillator. Under Flash ROM platform, SN32F770 series MCU builds in in-system-programming (ISP) function extending to EEPROM emulation. Powerful functionality, high reliability and low power consumption can apply to battery level application easily.